树行业新标,竭诚为海内外广大客户服务
产品概述
| 技术参数 | ●流量范围:0.2m³/h~240m³/h ●扬程范围:4.5m~381m ●环境温度:更高+25℃ |
| NEMA电机 | ●4" 电机 不锈钢(连接法兰分铜或不锈钢两种)、充油式电机(标准充变压器油,也可根据用户需要充符合FDA标准冷却油) 单相:0.37kW至2.2kW 三相:0.37kW至7.5kW ●6" 电机 铸铁电机(标准配置)、不锈钢电机(根据用户需要) 三相:4kW至37kW ●8" 电机 铸铁电机(标准配置)、不锈钢电机(根据用户需要) 三相:5.5kW至110kW |
| 工作条件 | ●不含固体颗粒或纤维的稀薄清洁的非腐蚀性液体 ●液体温度:更高+25℃ ●pH值:6.5~8.5 ●更大潜入深度不超过70米 ●为保证泵产品安全稳定运行,用户需配置对应型号的电机保护器 |
| 应用 | ●清洁水、软化水的循环和增压 ●供水、灌溉系统 ●降低地下水位 ●增压 ●各种工业用途 |
| 材质 | ●不锈钢 |

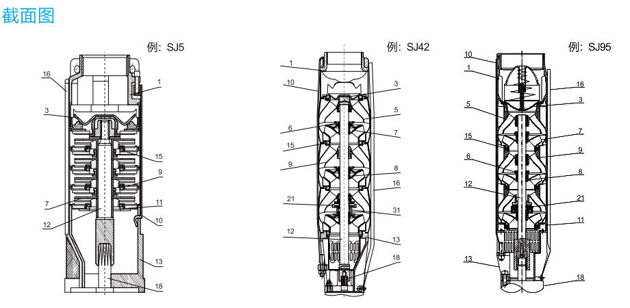
材料
| 序号 | 名称 | 材料 | AISI |
| 1 | 出水体 | 不锈钢/SS304 | AISI304 |
| 3 | 阀盖 | 不锈钢/SS304 | AISI304 |
| 5 | 出水导叶 | 不锈钢/SS304 | AISI304 |
| 6 | 叶轮螺母 | 不锈钢/SS304 | AISI304 |
| 7 | 叶轮 | 不锈钢/SS304 | AISI304 |
| 8 | 叶轮轴套 | 不锈钢/SS304 | AISI304 |
| 9 | 导叶 | 不锈钢/SS304 | AISI304 |
| 10 | 拉紧件 | 不锈钢/SS304 | AISI304 |
| 11 | 导流器 | 不锈钢/SS304 | AISI304 |
| 12 | 泵轴 | 不锈钢/SS304/420/431 | AISI304/420/431 |
| 13 | 支架 | 不锈钢/SS304 | AISI304 |
| 15 | 口环 | PBT/NBR | |
| 16 | 电缆护套 | 不锈钢/SS304 | AISI304 |
| 18 | 电机 | ||
| 21 | 进水隔套 | 石墨 | |
| 31 | 连接套 | 不锈钢/SS304 | AISI304 |
售后无忧
公司建立了完善的营销服务网络,在不断满足国内市场需求的同时积极出口海外市场,产品广泛应用增压,工业应用,水处理,生活供水,空调水循环,供暖,消防系统,地下水供应,污水废水处理,化工行业和海水淡化等诸多领域),销售主导产品有:CDL、CDLF系列不锈钢轻型多级离心泵,CHL,CHLF,CHLFT系列不锈钢轻型多级离心泵;NFWG无负压变频供水设备、DRL恒压变频供水设备
Copyright©苏州威瑞固德工业设备有限公司 网站备案号:苏ICP备18071296号-1网站技术支持:苏网科技